晶棒法
晶棒法,又稱為碘化物精煉法,或以開發者為名的范·亞克-德·波耳製程,是1925年兩位荷蘭化學家安東·范·亞克以及揚·德·波耳所開發的金屬精煉方法。[1] 晶棒法是最早能夠商業化製造高純度延性鋯的工業製程。晶棒法也可以小量生產超高純度的鈦(或鋯)。晶棒法的概念牽涉到用氣相碘去跟低純度的金屬作反應產生氣相碘化物,碘化物飄向加熱燈絲後受熱分解出高純度的金屬。晶棒法今已多被克羅爾法取代。

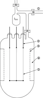
圖示為一晶棒法所用儀器。儀器主體由石英製作(1)接真空幫浦抽真空(2)6 mm 鉬電極,(3)鉬網,(4)原料金屬置放處,(5)鎢絲
製程
如下圖所示,低純度鈦、鋯、鉿、釩、釷、鏷(這裡主要探討鈦跟鋯)在外接真空幫浦的容器中通鹵素加熱至50–250 °C,四碘化鈦(TiI4)、四碘化鋯(ZrI4)等等中間產物就會開始出現並揮發,把雜質留在原處。利用物質在低壓下沸點降低的原理(常壓下四碘化鈦熔點150 °C、沸點377 °C,四碘化鋯熔點499 °C、沸點600 °C),揮發的氣相碘化物飄到1400 °C的白熾燈絲(鎢絲)上受熱分解。 隨著越來越多純金屬積附在燈絲上,燈絲的電阻會下降,以至於必須通更大的電流或時時收集產物才能維持燈絲的發熱功率。整個製程視設備情況,可歷時短至數小時,長至數週不等。
總體而言,晶棒法視對不同金屬之反應性決定要在製程中添加的鹵素或鹵素比例,俾利整個輸送機制進行。只有鈦、鋯、鉿這三種金屬曾經用晶棒法進行工業規模生產,今之晶棒法可謂沒落,僅用於特殊純度需求的小量生產。
晶棒法示意圖,字母M 指稱金屬,圖下方的M是低純度金屬,附著在圖上方鎢絲上的M是高純度金屬
圖庫
陳列數種晶棒法提煉的金屬:
鈦晶棒
鋯晶棒
鉿晶棒
釩晶棒
參考文獻
- van Arkel, A. E.; de Boer, J. H. . Zeitschrift für anorganische und allgemeine Chemie. 1925, 148 (1): 345–350. doi:10.1002/zaac.19251480133 (德语).
This article is issued from Wikipedia. The text is licensed under Creative Commons - Attribution - Sharealike. Additional terms may apply for the media files.